打开网站 https://zst.llxk.cn/zst.php 登陆成功之后
点击 推广管理 --广告中心

新增广告,广告分文字和视频二种

区域:告诉分享者在这个区域的用户观看才会给积分
标题,广告的标题
分享语:分享时展示的文字
时长:观看不够的是无效
频率:间隔时间
积分计算方式:由于是三级分销,设定100积分三级加系统扣总体会扣账户200左右;
设计时请注意。
积分比例为1:10000 (1RMB兑换10000)
店铺系统积分不够的,广告不可以分享。

关于视频广告,目前视频大小只支持50M.
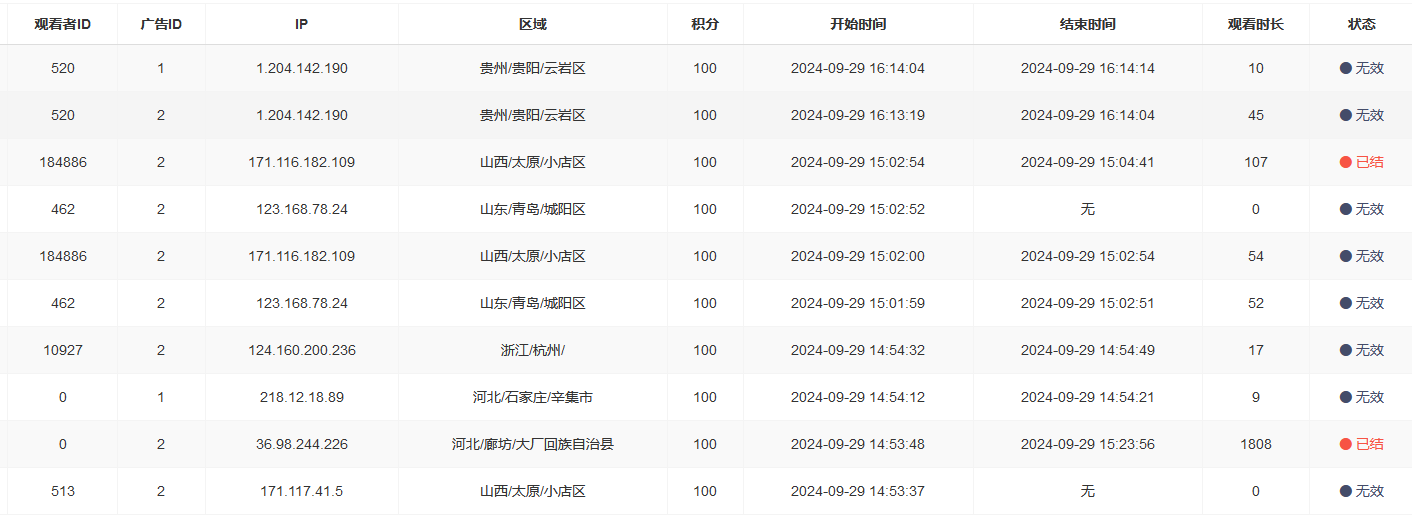
广告浏览

积分流水

广告浏览--进行人工审核,把浏览改成有效,就会计算积分,无效不计算积分。
要试用的需要后台充值积分:1:10000
有任何问题微信咨询